Выключатель-разъединитель ВНК-39-31130-32 УХЛ3
Описание товара
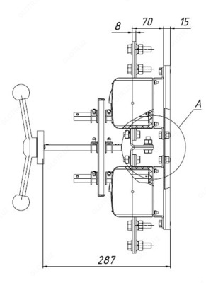
Выключатели-разъединители серии ВНК предназначены для включения, пропускания и отключения переменного тока в устройствах распределения электрической энергии, могут быть использованы в качестве главных и аварийных выключателей.
Основными узлами аппарата являются подвижные и неподвижные контакты и механизм мгновенного действия.
Корпус аппарата состоит из верхнего и нижнего блоков, стянутых винтами. В верхней части корпуса имеется прозрачная защитная крышка, позволяющая наблюдать за положением контактов.
В нижнем блоке корпуса установлены неподвижные ножевые контакты, компактные дугогасительные камеры и ползун с установленными в него подвижными контактами.
Включение и отключение аппарата производится с помощью фронтальной рукоятки посредством механизма мгновенного действия, перемещающего ползун с подвижными контактами параллельно плоскости монтажа аппарата.
Скорость срабатывания механизма не зависит от скорости движения руки оператора, тем самым обеспечивается мгновенное и одновременное замыканиеконтактов всех полюсов.
Внимание: характеристики товара, комплект поставки и внешний вид могут быть изменены производителем без предварительного уведомления. Указанная информация не является публичной офертой.
Показать все
Скрыть
Документы
Гарантия
Гарантийный срок эксплуатации прибора составляет 24 месяца с момента его ввода в эксплуатацию, при условии соблюдения потребителем правил эксплуатации, транспортировки, хранения и монтажа, установленных в руководстве по эксплуатации и в соответствии с требованиями ГОСТ 2405–88.
Срок хранения прибора с сохранением гарантийных обязательств — 12 месяцев с даты изготовления.
Отзывы
У данного товара пока нет отзывов. Станьте первым, кто поделится своим мнением и поможет другим сделать выбор.
20 отзывов
Артикул
Бренд
UzkipВ наличии
ГОСТ
2405-88ТУ
4212-114-64115539-2014Срок доставки
2-3 дняПериодичность поверки
2 годаС этим товаром смотрят
Выключатель-разъединитель ВНК-41-31131-32 УХЛ3
10 сум
Выключатель-разъединитель ВР32-39А31240 УХЛ3
10 сум
Выключатель-разъединитель ВР32-31-В-71250-32 УХЛ3
10 сум
C.A 6609 — измеритель фазовой ротации и направления вращения двигателя
10 сум
Locator Set — система для точной локации мест повреждений и проведения трассировки высоковольтных кабелей Wmax=50 Вт
10 сум
Syscompact 2000/32 — компактная мобильная система для отыскания мест повреждений кабельных линий (32 кВ)
10 сум
Выключатель-разъединитель ВНК-42-11130-32 УХЛ3
10 сум
Выключатель-разъединитель ВР32-37В31250-32 УХЛ3 лев.
10 сум
Выключатель-разъединитель INS2500 3П Schneider Electric
10 сум
Комплектующие к ВР32 Рукоятка к ВР 32- 39 30220
10 сум
Выключатель-разъединитель ВР32И-31A71240 100А IEK
10 сум
Комплектующие к ВР32 Рукоятка к ВР 32- 39 31250
10 сум
Ранее вы смотрели
РЕТОМ-61 Комплекс программно-технический измерительный
Пост кнопочный ПКЕ 112-3 У3 IP40 (пластик)
Выключатель-разъединитель ВНК-39-31130-32 УХЛ3
Разъединитель РЕ19-39-21110-00 УХЛ3
Разъединитель РЕ19-41-31170-00 УХЛ3
Разъединитель РБ-1/2П 100А
HP-602C-M13 — датчик для измерения температуры поверхностей
EClerk-M-RHTP — измеритель-регистратор влажности, температуры и атмосферного давления
Fluke 11290000 — комплект инструментов для связистов Electrical Contractor Telecom Kit I включая TS30
ДАТЧИКИ ПЕРЕПАДА ДАВЛЕНИЯ QBE61.3 ДЛЯ ЖИДКОСТЕЙ И ГАЗОВ
Похожие категории