Выключатель-разъединитель ВНК-39-31130N-32 УХЛ3
                            
                            
                                
                                
                                
                                Описание товара
Выключатели-разъединители серии ВНК предназначены для включения, пропускания и отключения переменного тока в устройствах распределения электрической энергии, могут быть использованы в качестве главных и аварийных выключателей.
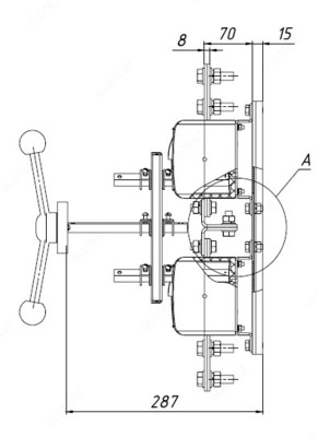
Основными узлами аппарата являются подвижные и неподвижные контакты и механизм мгновенного действия.
Корпус аппарата состоит из верхнего и нижнего блоков, стянутых винтами. В верхней части корпуса имеется прозрачная защитная крышка, позволяющая наблюдать за положением контактов.
В нижнем блоке корпуса установлены неподвижные ножевые контакты, компактные дугогасительные камеры и ползун с установленными в него подвижными контактами.
Включение и отключение аппарата производится с помощью фронтальной рукоятки посредством механизма мгновенного действия, перемещающего ползун с подвижными контактами параллельно плоскости монтажа аппарата.
Скорость срабатывания механизма не зависит от скорости движения руки оператора, тем самым обеспечивается мгновенное и одновременное замыканиеконтактов всех полюсов.
Внимание: характеристики товара, комплект поставки и внешний вид могут быть изменены производителем без предварительного уведомления. Указанная информация не является публичной офертой
Показать все
Скрыть
Документы
Гарантия
Гарантийный срок эксплуатации прибора составляет 24 месяца с момента его ввода в эксплуатацию, при условии соблюдения потребителем правил эксплуатации, транспортировки, хранения и монтажа, установленных в руководстве по эксплуатации и в соответствии с требованиями ГОСТ 2405–88.
Срок хранения прибора с сохранением гарантийных обязательств — 12 месяцев с даты изготовления.
Отзывы
У данного товара пока нет отзывов. Станьте первым, кто поделится своим мнением и поможет другим сделать выбор.
20 отзывов
Артикул
Бренд
UzkipВ наличии
ГОСТ
2405-88ТУ
4212-114-64115539-2014Срок доставки
2-3 дняПериодичность поверки
2 годаС этим товаром смотрят
                    Выключатель-разъединитель ВР32-37-В-31250-32УХЛ3
10 сум
                    Выключатель-разъединитель ВР32-35В31250 лев
10 сум
                    Выключатель-разъединитель ВР 32-31В31250 IP54
10 сум
                    Дополнительное оборудование к ВР32 Дугогасительные камеры для ВР32-39в
10 сум
                    Выключатель-разъединитель ВНК-41-31130-32 УХЛ3
10 сум
                    Выключатель-разъединитель ВР32И-35A31240 250А IEK
10 сум
                    RSA3015N — анализатор спектра реального времени
85 621 536 сум
                    ВЫКЛ-РАЗЪЕД INTERPACT INV100 4П Schneider Electric
10 сум
                    Выключатель-разъединитель ВР32-31А30220-00 УХЛ3 лев.
10 сум
                    ВЫКЛ-РАЗЪЕД INTERPACT INV200 3П Schneider Electric
10 сум
                    Syscompact 3000 — компактная мобильная система для отыскания мест повреждений кабельных линий (32 кВ)
10 сум
                    ВЫКЛ-РАЗЪЕД INTERPACT INV160 4П Schneider Electric
10 сум
Ранее вы смотрели
                Выключатель-разъединитель ВНК-39-31130N-32 УХЛ3
                Выключатель-разъединитель ВНК-43-21131-54 УХЛ3 лев.
                Разъединитель РЕ19-41-32260-00 УХЛ3
                Разъединитель РЕ19-43-32210-00 УХЛ3
                Мультиметр М890C+
                Разъединитель РПБ-4 400А П IEK
                Рубильник откидной XLP1-6BC под предохранители до 250А с кабельн ыми клеммами
                Ящик с рубильником-переключателем ЯРПП 630А IP32 с ПН-2 (ЯРП11М-791) Льгов
                RGK DM-12 — цифровой мультиметр
                МИКО-1 — промышленный микроомметр
Похожие категории