Выключатель-разъединитель ВНК-39-31130N-54 УХЛ3
                            
                            
                                
                                
                                
                                Описание товара
Выключатели-разъединители серии ВНК предназначены для включения, пропускания и отключения переменного тока в устройствах распределения электрической энергии, могут быть использованы в качестве главных и аварийных выключателей.
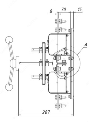
Основными узлами аппарата являются подвижные и неподвижные контакты и механизм мгновенного действия.
Корпус аппарата состоит из верхнего и нижнего блоков, стянутых винтами. В верхней части корпуса имеется прозрачная защитная крышка, позволяющая наблюдать за положением контактов.
В нижнем блоке корпуса установлены неподвижные ножевые контакты, компактные дугогасительные камеры и ползун с установленными в него подвижными контактами.
Включение и отключение аппарата производится с помощью фронтальной рукоятки посредством механизма мгновенного действия, перемещающего ползун с подвижными контактами параллельно плоскости монтажа аппарата.
Скорость срабатывания механизма не зависит от скорости движения руки оператора, тем самым обеспечивается мгновенное и одновременное замыканиеконтактов всех полюсов.
Внимание: характеристики товара, комплект поставки и внешний вид могут быть изменены производителем без предварительного уведомления. Указанная информация не является публичной офертой.
Показать все
Скрыть
Документы
Гарантия
Гарантийный срок эксплуатации прибора составляет 24 месяца с момента его ввода в эксплуатацию, при условии соблюдения потребителем правил эксплуатации, транспортировки, хранения и монтажа, установленных в руководстве по эксплуатации и в соответствии с требованиями ГОСТ 2405–88.
Срок хранения прибора с сохранением гарантийных обязательств — 12 месяцев с даты изготовления.
Отзывы
У данного товара пока нет отзывов. Станьте первым, кто поделится своим мнением и поможет другим сделать выбор.
20 отзывов
Артикул
Бренд
UzkipВ наличии
ГОСТ
2405-88ТУ
4212-114-64115539-2014Срок доставки
2-3 дняПериодичность поверки
2 годаС этим товаром смотрят
                    Выключатель-разъединитель ВНК-43-31131-54 УХЛ3 лев.
10 сум
                    Выключатель-разъединитель ВР32-31А30220-00УХЛ3
10 сум
                    Комплектующие к ВР32 Рукоятка к ВР 32- 31/35/37 71240
10 сум
                    Выключатель-разъединитель ВР32-37В71250 лев.
10 сум
                    Выключатель-разъединитель INS2500 3П Schneider Electric
10 сум
                    Выключатель-разъединитель ВНК-43-21131-54 УХЛ3
10 сум
                    Выключатель-разъединитель ВР32-37В71250-32 УХЛ3
10 сум
                    SFX 5-1000 — система для поиска кабельных повреждений
10 сум
                    Выключатель-разъединитель ВР32-37В31250-32 УХЛ3 лев.
10 сум
                    СВН-2-02 Счетчики времени наработки
10 сум
                    Комплектующие к ВР32 Ось ГЛИЦ715111128 к ВР32 58мм (100-250А)
10 сум
                    Выключатель-разъединитель ВР32-35-А-70220-00 УХЛ3
10 сум
Ранее вы смотрели
                Выключатель-разъединитель ВНК-39-31130N-54 УХЛ3
                Выключатель-разъединитель ВР32-37-А-30220-00 УХЛ3 лев.
                УИ-15/225 — установка испытательная
                Парма РП 4.08 — цифровой регистратор электрических процессов
                Tx-5 — генератор трассопоисковый
                Успех ТПТ-529КАЗ — течетрассопоисковый комплект для диагностики неметаллических и металлических трубопроводов с функцией "Зонд" и функцией сохранения GPS/ГЛОНАСС координат
                ПрофКиП Cobra-892 — пирометр
                МП-4 — многоцелевой ручной мультиметр
                ПрофКиП Д5014/2 — амперметр лабораторный высокоточный (класс точности 0.2)
                PFR-7100M — источник питания постоянного тока особо тихий, программируемый
Похожие категории